新闻资讯

ADIN1300BCPZ

2026/1/7 10:05:17
ADIN1300BCPZ是一款具有低延迟特性的低功耗\单端口\千兆以太网收发器,主要设计用于工业以太网应用.

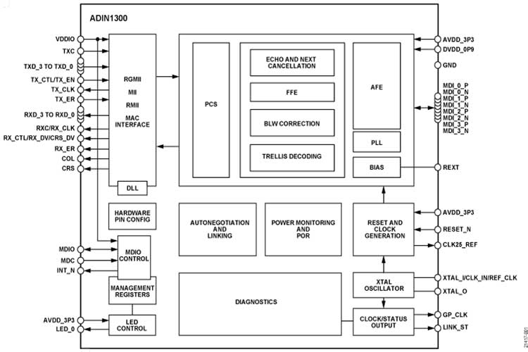
此设计集成了高能效以太网(EEE)物理层器件(PHY)内核以及所有相关的通用模拟电路\输入和输出时钟缓冲\管理接口和子系统寄存器以及MAC接口和控制逻辑,以便管理复位和时钟控制以及引脚配置.

ADIN1300BCPZ采用紧凑型6 mm × 6 mm\40引脚架构芯片级(LFCSP)封装.如果使用3.3 V MAC接口电源,该器件至少可使用2个电源(0.9 V和3.3 V)供电.为实现最大的系统级设计灵活性,可通过单独的VDDIO电源配置数据输入/输出(MDIO)管理和MAC接口电源电压,不用考虑ADIN1300上的另一个电路,允许在1.8 V\2.5 V或3.3 V下工作.上电时,ADIN1300保持在硬件复位状态,直至每个电源已超过其最小上升阈值.通过监视电源以检测一个或多个电源电压是否低于最小下降阈值(参见数据手册中的表19),并将器件保持在硬件复位状态直到电源恢复并满足上电复位(POR)电路要求,从而提供掉电保护.

MII管理接口(也称为MDIO接口)在主机处理器或MAC(也称为管理站(STA))和ADIN1300之间提供双线式串行接口,以便访问PHY内核管理寄存器中的控制和状态信息.该接口兼容IEEE 802.3标准第22条和第45条管理框架结构.

ADIN1300BCPZ在千兆速度下支持150米电缆,在100 Mbps或10 Mbps速率下工作时支持180米电缆.



特性

10BASE-Te/100BASE-TX/1000BASE-T IEEE 802.3兼容
MII\RMII和RGMII MAC接口
1000BASE-T RGMII延迟发射<68 ns,接收<226 ns
100BASE-TX MII延迟发射<52 ns,接收<248 ns
可编程RGMII时序延迟和驱动电流
支持TSN
EMC测试标准
IEC 61000-4-5浪涌(±4 kV)
IEC 61000-4-4电快速瞬变(EFT) (±4 kV)
IEC 61000-4-2 ESD(±6 kV接触放电)
IEC 61000-4-6传导抗扰度(10 V)
EN55032电磁辐射骚扰(A类)
EN55032传导发射(A类)
使用多电平引脚绑定的非托管配置
MDIO/MDC管理接口和中断引脚
EEE符合IEEE 802.3az标准
支持IEEE 1588时间戳数据包起始检测
增强型链路检测
电压模式MDI驱动器,无需端接电阻
RJ45 MDI翻转能力
自动极性和线对交换校正
电缆诊断(TDR和信号分析)
帧生成器和检查器,多种环回模式
可配置LED
晶振频率/25 MHz时钟输入频率(RMII为50 MHz)
25 MHz/125 MHz同步时钟输出
支持最高16 kB的超长帧
小型封装和宽温度范围
40引脚\6 mm x 6 mm LFCSP封装
额定工作温度范围:-40°C至+105℃
低功耗
330 mW(对于1000BASE-T)
140 mW(对于100BASE-TX)
MAC接口VDDIO电源电压:3.3 V/2.5 V/1.8 V
集成电源监控和POR

应用

工业自动化
过程控制
工厂自动化
机器人/运动控制
时间敏感型网络(TSN)
楼宇自动化
测试与测量
工业物联网(IoT)

Related information