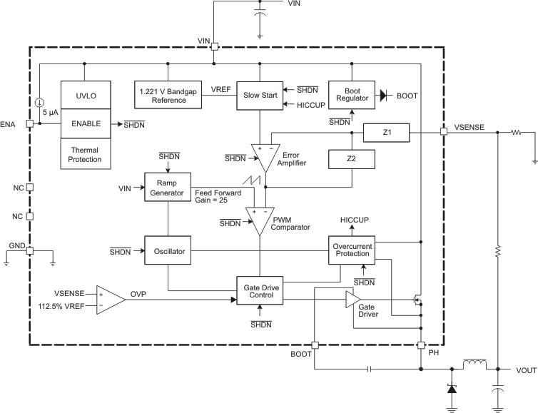
TPS5420DR是一款高输出电流的 PWM 转换器,集成了低电阻高侧 N 沟道 MOSFET.具有所列特性的基板上还包括高性能电压误差放大器(可在瞬态条件下提供高稳压精度)\欠压锁定电路(用于防止在输入电压达到 5.5V 前启动)\内部设置的慢启动电路(用于限制浪涌电流)以及电压前馈电路(用于改进瞬态响应).通过使用 ENA 引脚,关断电源电流通常可减少到 18µA.其他特性包括高电平有效使能端\过流限制\过压保护和热关断.为降低设计复杂性并减少外部元件数量,TPS5420 反馈环路进行了内部补偿.
TPS5420DR器件采用易于使用的 8 引脚 SOIC 封装.TI 提供评估模块和 Designer 软件工具,协助快速实现高性能电源设计,满足迫切的设备开发周期要求.

特性
宽泛的输入电压:5.5V 至 36V
高达 2A 的连续(3A 峰值)输出电流
通过 110mΩ 集成式 MOSFET 开关实现高达 95% 的高效率
宽输出电压范围:可调节为低至 1.22V,初始精度为 1.5%
内部补偿可最大限度减少外部器件数量
适用于小型滤波器尺寸的固定 500kHz 开关频率
通过输入电压前馈改进线路稳压和瞬态响应
系统受过流限制\过压保护和热关断的保护
-40°C 至 125°C 的工作结温范围
采用小型 8 引脚 SOIC 封装