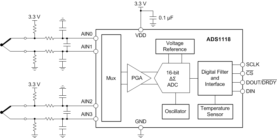
ADS1118IDGSR是一款精密\低功耗\16 位模数转换器 (ADC),提供 测量 采用超小型无引线 X2QFN-10 封装或 VSSOP-10 封装的传感器最常见信号所需的所有功能.ADS1118 集成了可编程增益放大器 (PGA)\电压基准\振荡器和高精度温度传感器.这些 功能以及 2V 至 5.5V 的宽电源电压范围,使得 ADS1118 非常适合功率受限和空间受限的传感器测量 应用.
ADS1118IDGSR数据转换速率最高可达每秒 860 次采样 (SPS).PGA 的输入范围为 ±256mV 至 ±6.144V,能够以高分辨率测量大信号和小信号.该器件通过输入多路复用器 (MUX) 测量双路差分输入或四路单端输入.高精度温度传感器用于系统级温度监控或对热电偶进行冷结点补偿.
ADS1118IDGSR可选择以连续转换模式或单次模式运行.该器件在单次模式下完成一次转换后自动断电.在空闲状态下,单次模式会显著降低流耗.所有数据均通过串行外设接口 (SPI™) 进行传输.ADS1118 的额定工作温度范围为 -40°C 至 +125°C.

特性
超小型 X2QFN 封装:
2mm × 1.5mm × 0.4mm
宽电源电压范围:2V 至 5.5V
低流耗:
连续模式:只有 150µA
单冲模式:汽车断电
可编程数据传输速率:
8SPS 至 860SPS
单周期稳定
内部低漂移电压基准
内部温度传感器:
在 0°C 至 70°C 范围内误差最大值为 0.5°C
内部振荡器
内部可编程增益放大器 (PGA)
四路单端或两个差分输入