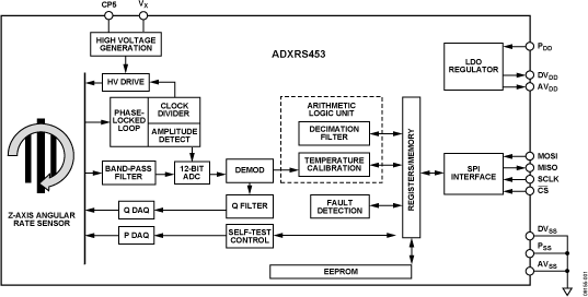
ADXRS453BRGZ是面向工业\仪表仪器和高振动环境中稳定应用的角速率传感器(陀螺仪).ADXRS453采用先进的差分四传感器设计,可抑制线性加速度的影响,能够在恶劣的冲击和振动环境中提供高精度速率检测.
ADXRS453BRGZ采用内部连续自测架构.机电系统的完整性通过以下方法来检查:对检测结构施加一个高频静电力,以便产生一个速率信号,将该速率信号与基带速率数据区分开来,并进行内部分析.
ADXRS453BRGZ可检测高达±300°/s的角速率.角速率数据以16位字的形式提供,属于32位SPI消息的一部分.
ADXRS453BRGZ提供16引脚空腔塑封SOIC (SOIC_CAV)和SMT兼容垂直贴装(LCC_V)两种封装,能够在3.3 V至5 V的宽电压范围内工作.

特性
在单芯片上实现完整的角速度陀螺仪
±300°/s角速率检测
超高抗振性: 0.01°/sec/g
出色的零点偏置稳定性:16°/小时
内部温度补偿
抗冲击能力:2000 g
16位数据字SPI数字输出
低噪声和低功耗
工作温度范围:3.3 V至5 V
工作温度范围:-40°C至+ 105°C
超小\轻便\RoHS兼容
两种封装选择:
-- 低成本SOIC_CAV封装可提供偏航角速度(Z轴)响应
-- 创新型陶瓷垂直贴装封装(LCC_V),适合于俯仰\滚动\偏航响应
应用
- 高振动环境中的旋转检测
- 工业和仪表仪器应用的旋转检测
- 高性能平台稳定