需要以太网连接的应用数量持续增长,推动支持以太网的设备进入更加恶劣的环境.
DP83848C/I/VYB/YB 专为应对这些新型应用的挑战而设计,其扩展的温度性能超越了典型的工业温度范围.DP83848C/I/VYB/YB 是一款高度可靠\功能丰富且坚固耐用的器件,符合 IEEE 802.3 标准,可在从商业级到极端温度的多个温度范围内稳定运行.该器件非常适合无线远程基站\汽车/交通运输和工业控制等严苛环境应用.
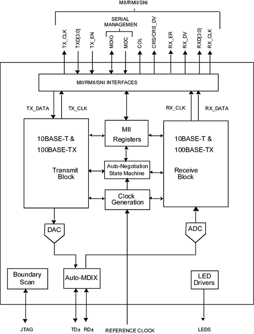
它提供增强的 ESD 保护,并可选择 MII 或 RMII 接口,从而在 MPU 选择上实现最大的灵活性;所有这些都集成在一个 48 引脚封装中.
DP83848VYB 凭借其宽广的工作温度范围,进一步巩固了 PHYTER™ 系列器件的领先地位.TI 的 PHYTER 收发器产品线基于数十年的以太网专业技术,提供高性能和高灵活性,使用户能够轻松实现定制化部署,满足各种应用需求.

多种温度范围,从-40°C到105°C
低功耗 3.3V\0.18µm CMOS 技术
低功耗(典型值 < 270 mW)
3.3V MAC接口
10/100 Mb/s 的自动 MDIX
能量检测模式
25MHz时钟输出
SNI接口(可配置)
RMII Rev. 1.2 接口(可配置)
MII 串行管理接口(MDC 和 MDIO)
IEEE 802.3 MII
IEEE 802.3 自动协商和并行
检测
IEEE 802.3 ENDEC\10BASE-T 收发器和
滤波器
IEEE 802.3 PCS\100BASE-TX 收发器和
滤波器
IEEE 1149.1 JTAG
集成符合 ANSI X3.263 标准的 TP-PMD
物理子层,具有自适应均衡和
基线漂移补偿功能
无故障运行范围可达150米
支持可编程 LED 指示灯,用于显示链路状态\10/100 Mb/s
模式\活动状态\双工状态和碰撞检测状态
单寄存器访问即可获得完整的PHY状态
10/100 Mb/s 数据包 BIST(内置自检)