新闻资讯

LMG3422R050RQZR

2026/2/6 10:32:36
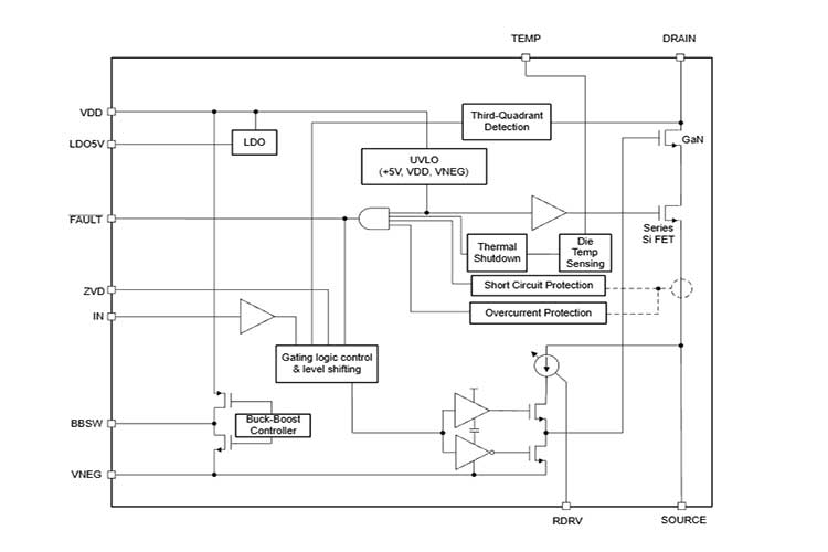
LMG3422R050RQZR GaN FET 具有集成式驱动器和保护功能,适用于开关模式电源转换器,能够让设计人员实现更高水平的功率密度与效率.

LMG3422R050RQZR 集成了一个硅驱动器,可实现高达 150V/ns 的开关速度.与分立式硅栅极驱动器相比,TI 的集成式精密栅极偏置可实现更高的开关 SOA.这种集成特性与 TI 的低电感封装技术相结合,可在硬开关电源拓扑中提供干净的开关和超小的振铃.可调栅极驱动强度允许将压摆率控制在 20V/ns 至 150V/ns 之间,这可用于主动控制 EMI 并优化开关性能.LMG3426R050包含零电压检测(ZVD)功能,能够在实现零电压开关时提供 ZVD 引脚脉冲输出.LMG3427R050 包含零电流检测(ZCD)功能,能够在检测到源极到漏极的正向电流时提供 ZCD 引脚脉冲输出.

高级电源管理功能包括数字温度报告和故障检测.GaN FET 的温度通过可变占空比 PWM 输出进行报告,这可简化器件加载管理.报告的故障包括过流\短路\过热\VDD UVLO 以及高阻抗 RDRV 引脚.

特性


符合面向硬开关拓扑的 JEDEC JEP180 标准
带集成栅极驱动器的 600V GaN-on-Si FET
集成高精度栅极偏置电压
200V/ns FET 释抑
3.6MHz 开关频率
20V/ns 至 150V/ns 压摆率,用于优化开关性能与缓解 EMI
由 7.5V 至 18V 电源供电
强大的保护
响应时间 < 100ns 的逐周期过流与锁存短路保护
硬开关时可承受 720V 浪涌
针对内部过热和 UVLO 监控的自我保护
高级电源管理
数字温度 PWM 输出
LMG3426R050 包括有助于实现软开关转换器的零电压检测功能 (ZVD)

PREV:LMV358IDR

NEXT:PCM1808PWR

Related information