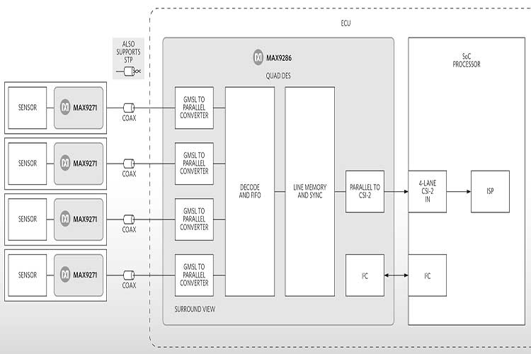
MAX9286GTN/V+T吉比特多媒体串行链路(GMSL)解串器接收多达四个GMSL串行器的数据,采用50Ω同轴电缆或100Ω屏蔽双绞线(STP)电缆,通过四个CSI-2通道输出数据.每条串行链路具有嵌入式控制通道,工作在9.6kbps至1Mbps,工作模式为UART至UART\UART至I²C以及I²C至I²C模式.利用控制通道,μC能够随时设置串行器\解串器和任何外设寄存器,独立于视频定时.可屏蔽的广播操作加快图像传感器寄存器的设置.
对于较长的电缆,解串器具有可编程电缆均衡器和可编程检错及纠错.串行输入满足ISO 10605和IEC 61000-4-2 ESD标准.核电源供电范围为1.7V至1.9V,I/O电源范围为1.7V至3.6V.
器件采用无铅(Pb)\56引脚\8mm x 8mm SWTQFN和TQFN封装,带有裸焊盘,引脚间距为0.5mm.

特性
理想用于多格式流媒体应用
驱动低成本50Ω同轴电缆和FAKRA连接器或100Ω STP
图像传感器的数据被同步至相同像素
内部/外部自动产生摄像头同步
电缆均衡,全速工作时传输距离长达15m
多路输入/输出功能,提高系统灵活性
1至4通道CSI-2输出,速率为80Mbps至1200Mbps每通道
可交换/可选择串行输入/输出,极性可交换
UART\UART/I²C混合或I²C模式下,提供9.6kbps至1Mbps控制通道,带时钟展宽
用于系统上电和验证的外设功能
内置PRBS检测器,用于串行链路的BER测试
可编程选择9个默认器件地址
2个专用GPIO端口
高灵敏度模式,最大程度上抑制控制通道噪声
满足严格的汽车和工业要求
-40°C至+105°C工作温度范围
ISO 10605 ±8kV接触放电和±20kV气隙放电ESD保护,以及IEC 61000-4-2 ±8kV接触放电和±12kV气隙放电ESD保护
应用
3D摄像系统
机器视觉系统
全景可视系统