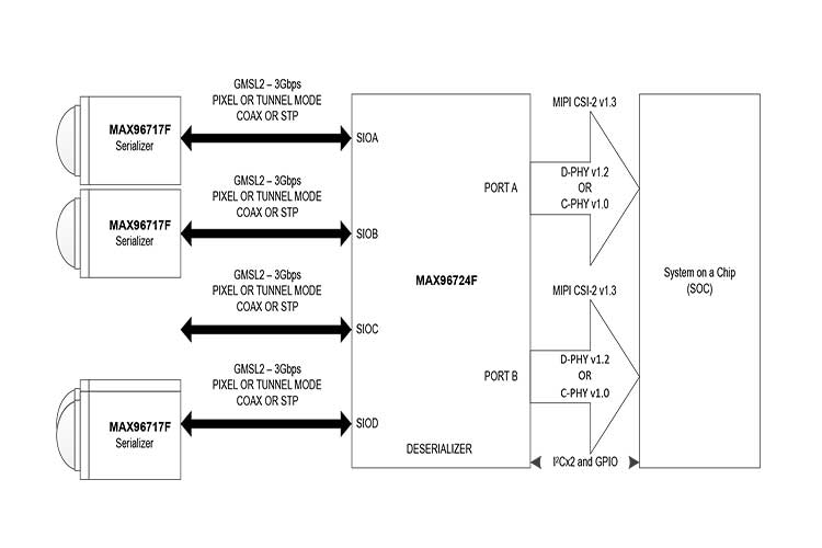
MAX96717GTJ/VY+T GMSL™ 串行器在MIPI CSI-2接口上接收视频,并在GMSL2串行链路收发器上输出视频.同时,它通过相同的GMSL2链路发送和接收双向控制通道数据.GMSL2数据可以通过同轴或屏蔽双绞线(STP)电缆进行传输.它的正向运行速率为3Gbps(固定),反向运行速率为187.5Mbps.该器件通过本地 I2C/UART 接口或通过与配对解串器之间的链路进行编程.MAX96717F搭载两个 I2C/UART 直通通道\灵活的GPIO\SPI隧道\一个内置ADC\温度传感器和一组广泛的功能安全诊断.额定工作温度范围为-40°C至+105°C汽车应用温度范围.该器件通过了AEC-Q100 2级认证.
数据可以通过符合GMSL2通道规范的低成本50Ω同轴电缆或100Ω STP电缆进行传输.数据手册中的表1提供了有关常用汽车电缆最大长度典型值的指南.请联系工厂了解GMSL2通道规范.

特性
汽车级高速链接
-1.5GHz(3Gbps)时19.5dB最大插入损耗
自动适应渠道条件变化
工作环境温度为-40°C至+105°C
四通道D-PHY MIPI CSI-2 v1.3输入端口
16个虚拟通道
在隧道传输模式下支持任何CSI-2数据类型
高级MIPI D-PHY v1.2接收器额定速率:2.5Gbps
极性反转和数据通道重新分配
通过单线提供全双工功能
3Gbps正向链路速率
187.5Mbps反向链路速率
CSI-2 ECC\本地校验和\远程错误检测和标记
符合ASIL-B标准要求
在隧道传输模式下通过CRC确保端到端数据完整性
RS FEC用于保护正向视频和控制通道数据
为侧信道和视频数据提供CRC保护
持续的链路余量监控和优化
I2C/UART\直通I2C/UART\SPI\GPIO和寄存器可编程GPIO
从反向信号获取的参考时钟(RoR)支持无晶体操作
为图像传感器生成参考时钟
为图像传感器生成参考时钟
紧凑型5mm x 5mm TQFN侧面可湿性封装,间距为0.5mm
应用
先进驾驶辅助系统(ADAS)
LiDAR系统
雷达系统
4Mp 40fps前视摄像头(FVC)系统
环视系统(SVS)
驾驶员监控系统(DMS)
后视摄像头(RVC)
具有多个同步摄像头的系统