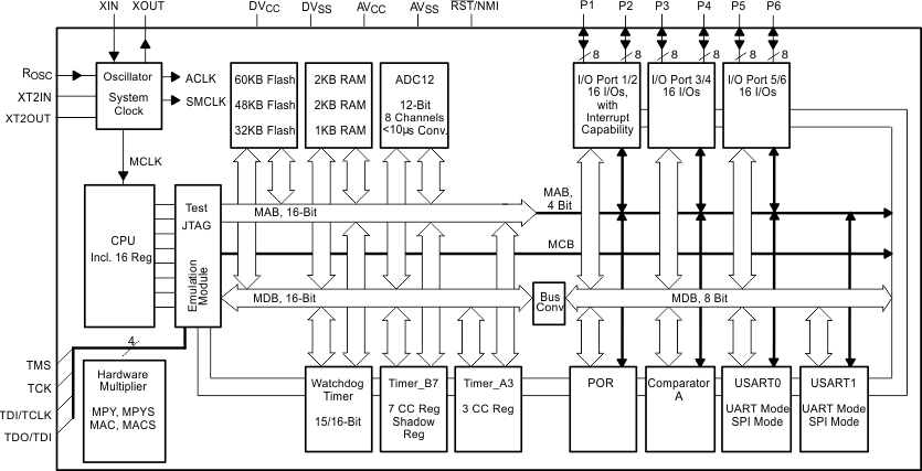
德州仪器 (TI) MSP430™系列的超低功耗微控制器 (MCU) 包含多款器件,这些器件配备了不同的外设集以满足各类 应用的需求.该架构可与五种低功耗模式配合使用,专为在便携式测量应用中延长电池使用寿命而进行了 优化.该器件 具有 功能强大的 16 位 RISC CPU\16 位寄存器和有助于获得最大编码效率的常数发生器.数控振荡器 (DCO) 可在不到 6µs 的时间内完成从低功耗模式到激活模式的唤醒.
MSP430F13x\MSP430F14x 和 MSP430F14x1 MCU 支持两个内置 16 位计时器\快速 12 位 ADC(在 MSP430F13x 和 MSP430F14x 器件上)\一个 USART(在 MSP430F13x 器件上)或两个 USART(在 MSP430F14x 和 MSP430F14x1 器件上),以及 48 个 I/O 引脚.硬件乘法器可提高性能,并提供型号众多且具有代码和硬件兼容性的器件系列解决方案.

特性
低电源电压范围:1.8V 至 3.6V
超低功耗:
激活模式:280µA(在 1MHz 频率和 2.2V 电压条件下)
待机模式:1.6µA
关闭模式(RAM 保持):0.1µA
5 种省电模式
可在不到 6µs 的时间内从待机模式唤醒
16 位精简指令集 (RISC) 架构,125ns 指令周期时间
具有内部基准\采样保持和自动扫描功能的 12 位模数转换器 (ADC)
具有 7 个捕捉/比较及影子寄存器的 16 位 Timer_B
具有 3 个捕捉/比较寄存器的 16 位 Timer_A
片载比较器
串行板上编程\无需外部编程电压\通过安全保险丝实现的可编程代码保护
串行通信接口 (USART),作为异步 UART 或同步 SPI 接口
MSP430F14x 和 MSP430F14x1 器件上有两个 USART(USART0\USART1)
MSP430F13x 器件上有一个 USART (USART0)
系列成员(另请参阅器件比较)
MSP430F133
8KB + 256B 闪存,
256B RAM
MSP430F135
16KB + 256B 闪存,
512B RAM
MSP430F147\MSP430F1471
32KB + 256B 闪存,
1KB RAM
MSP430F148\MSP430F1481
48KB + 256B 闪存,
2KB RAM
MSP430F149\MSP430F1491
60KB + 256B 闪存,
2KB RAM