TFP410PAP器件是德州仪器 (TI) 的 PanelBus™ 平板显示产品,是符合 DVI 1.0 标准的全系列端到端解决方案的一部分,面向 PC 和消费类电子产品行业.
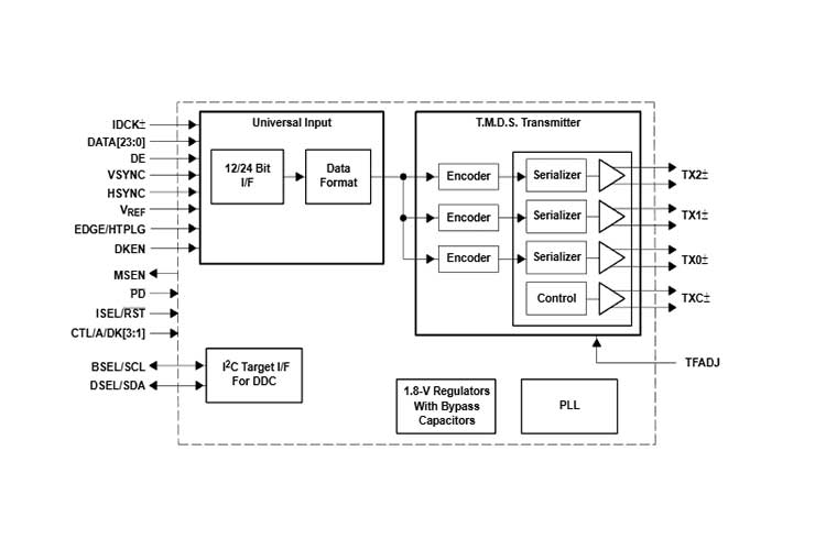
TFP410PAP器件提供了一个通用接口,可以无缝连接到常用的图形控制器.该通用接口的一些优势包括可选总线宽度\可调信号电平以及差分和单端时钟.1.1V 至 1.8V 可调数字接口提供了一条与 12 位或 24 位接口无缝连接的低 EMI 高速总线.DVI 接口以 24 位真彩像素格式支持高达 165MHz 的 UXGA 平板显示器分辨率.
TFP410PAP器件将 PanelBus 电路创新与 TI 先进的 0.18µm EPIC-5 CMOS 工艺技术和 TI 的超低接地电感 PowerPAD 封装相结合,从而得到一个紧凑的 64 引脚 TQFP 封装,提供可靠\低电流\低噪声\高速数字接口解决方案.

特性
符合数字可视接口 (DVI) 技术规范1
支持高达 165MHz 的像素速率(包括 60Hz 时的 1080p 和 WUXGA)
通用图形控制器接口:
12 位\双边沿和 24 位\单边沿输入模式
可调 1.1V 至 1.8V 和标准 3.3V CMOS 输入信号电平
全差分和单端输入时钟模式
标准 Intel 12 位数字视频端口,与 Intel™ 81x 芯片组兼容
增强型 PLL 抗噪性能:
片上稳压器和旁路电容器,可降低系统成本
增强的抖动性能:
无 HSYNC 抖动异常
数据相关抖动可忽略不计
可使用 I2C 串行接口进行编程
通过热插拔和接收器检测来监控检测
单个 3.3V 电源运行
采用 TI PowerPAD™ 封装的 64 引脚 TQFP
TI 先进的 0.18µm EPIC-5™ CMOS 工艺技术
与 SiI164 DVI 发送器引脚兼容(1)