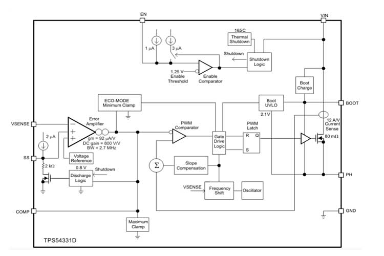
TPS54331DDAR器件是一款 28V\3A 非同步降压转换器,集成有一个低 R DS(on) 的高侧 MOSFET.为了提高轻负载条件下的效率,将自动激活脉冲跳跃 Eco-mode 特性.此外,1µA 的关断电源电流使得此器件可用于电池供电类应用.具有内部斜坡补偿的电流模式控制简化了外部补偿计算,并在允许使用陶瓷输出电容器的同时减少了元件数量.一个电阻分压器对输入欠压锁定的迟滞进行编程.过压瞬态保护电路可限制启动期间和瞬态条件下的电压过冲.逐周期电流限制方案\频率折返和热关断特性可在过载条件下对器件和负载施加保护.TPS54331 器件可采用 8 引脚 SOIC 封装和 8 引脚 SO PowerPAD 集成电路封装,这些封装经过内部优化可改进热性能.

特性
3.5V 至 28V 输入电压范围
可调节输出电压低至 0.8V
集成式 80mΩ 高侧 MOSFET 支持高达 3A 的持续输出电流
使用脉冲跳跃 Eco-mode 在轻负载条件下实现高效率
570kHz 固定开关频率
1µA 关断静态电流(典型值)
可调节慢启动限制浪涌电流
可编程 UVLO 阈值
过压瞬态保护
逐周期电流限制\频率折返和热关断保护
采用易于使用的 SOIC8 封装或热增强型 SOIC8 PowerPAD™ 集成电路封装
使用 TPS54331 并借助 WEBENCH Power Designer 创建定制设计方案
使用 TPS62933 实现具有更高频率\更低 IQ 和改进 EMI 的 30V 输入电压转换器