这个 4 位同相转换器使用两个独立的可配置电源轨.A 端口设计用于跟踪 V CCA.V CCA 支持从 1.65V 到 3.6V 范围内的任意电源电压.V CCA 必须低于或等于 V CCB.B 端口旨在用于跟踪 V CCB.V CCB 支持从 2.3V 到 5.5V 范围内的任意电源电压.这使得该器件可在 1.8V\2.5V\3.3V 和 5V 电压节点之间任意进行低压双向转换.
当输出使能端 (OE) 输入为低电平时,所有输出都被置于高阻抗状态.
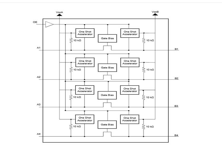
TXS0104E 旨在通过 V CCA 为 OE 输入电路供电.
要在上电或断电期间处于高阻态,请将 OE 通过下拉电阻连接至 GND;该电阻的最小值取决于驱动器的拉电流能力.

特性
无需方向控制信号
最大数据速率:
24Mbps(推挽)
2Mbps(开漏)
采用德州仪器 (TI) NanoFree™ 封装
A 端口支持 1.65V 至 3.6V 的电压,B 端口支持 2.3V 至 5.5V 的电压 (V CCA ≤ V CCB)
无需电源时序控制 – V CCA 或 V CCB 均可优先斜升
闩锁性能超过 100mA,符合 JESD 78 II 类规范的要求
静电放电 (ESD) 保护性能超过 JESD 22 规范要求:
A 端口:
2000V 人体放电模型 (A114-B)
200V 机器放电模型 (A115-A)
1000V 充电器件模型 (C101)
B 端口:
15kV 人体放电模型 (A114-B)
200V 机器放电模型 (A115-A)
1000V 充电器件模型 (C101)
IEC 61000-4-2 ESD(B 端口):
±8kV 接触放电
±10kV 气隙放电