新闻资讯

TXS0108ERGYR

2026/3/3 9:50:34
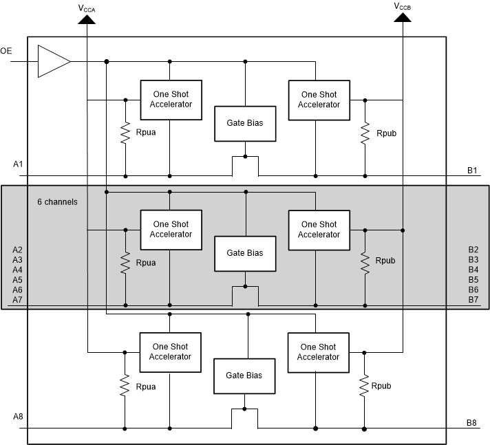
该器件是一款 8 位同相电平转换器,此转换器使用两个独立的可配置电源轨.A 端口跟踪 VCCA 引脚的电源电压.VCCA 引脚可接受 1.4V 至 3.6V 之间的任何电源电压.B 端口跟踪 VCCB 引脚的电源电压.VCCB 引脚接受 1.65V 至 5.5V 之间的任何电源电压.两个输入电源引脚可实现 1.5V\1.8V\2.5V\3.3V 和 5V 电压节点之间的低电压双向转换.

输出使能 (OE) 输入为低电平时,所有输出均将置于高阻抗 (Hi-Z) 状态.

为了在上电或断电期间将器件置于高阻态状态,需要通过一个下拉电阻将 OE 接至 GND.驱动器的拉电流能力确定了电阻器的最小值.

特性

无需方向控制信号
最大数据速率:
110Mbps(推挽)
1.2Mbps(开漏)
A 端口上为 1.4V 至 3.6V;B 端口上为 1.65V 至 5.5V (VCCA ≤ VCCB)
无需电源时序控制 - VCCA 或 VCCB 均可优先斜升
闩锁性能超过 100mA,符合 JESD 78 II 类规范的要求
静电放电 (ESD) 保护性能超过 JESD 22 规范的要求(A 端口):
2000V 人体放电模型 (A114-B)
150 V 机器放电模型 (A115-A)
1000 V 充电器件模型 (C101)

IEC 61000-4-2 ESD(B 端口):
±8kV 接触放电
±6kV 空气放电

PREV:TPS23753APWR

NEXT:TPSM63603RDHR

Related information