ne555dr器件是精密计时电路,能够实现准确的延时时间和振荡.在延时时间或单稳态工作模式下,计时间隔由单个外部电阻器和电容器网络控制.在非稳态工作模式下,频率和占空比由两个外部电阻器和单个外部电容器独立控制.
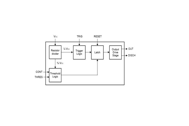
每个计时器有一个约等于电源电压三分之一的触发电平以及一个约等于电源电压三分之二的阈值电平.可使用控制电压引脚 (CONT) 来改变这些电平.当触发输入 (TRIG) 低于触发电平的时候,触发器被设定并且输出变为高电平.如果 TRIG 高于触发电平并且阈值输入 (THRES) 在阈值电平之上,触发器将被复位并且输出为低电平.复位输入 (RESET) 的优先级高于所有其他输入并且被用来启动一个新的定时周期.如果 RESET 为低电平,触发器被复位并且输出为低电平.只要当输出为低电平,就会在放电引脚 (DISCH) 和接地引脚 (GND) 之间提供一个低阻抗路径.将所有未用输入接入合适的逻辑电平以免发生误触发
输出电路能够驱动高达 200mA 的灌电流或拉电流.电源额定工作电压为 5V 至 15V.当供电为 5V 时,输出电平与 TTL 输入兼容.

特性
将定时从微秒更改为小时
非稳态或单稳态工作模式
可调占空比
兼容 TTL 的灌电流和拉电流输出最高可达 200mA
对于符合 MIL-PRF-38535 标准的产品,所有参数均经过测试,除非另有说明.对于所有其他产品,生产流程不一定包含对所有参数的测试.