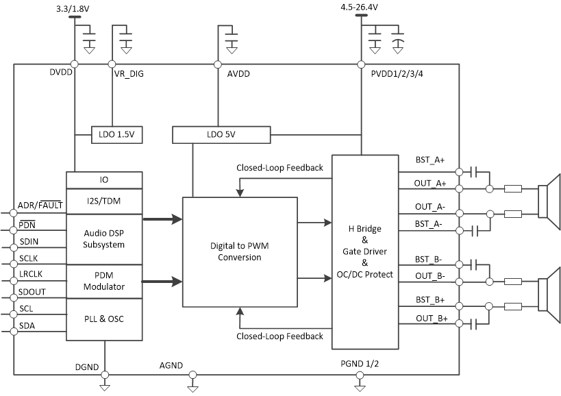
TAS5805MPWPR是一款高效立体声闭环 D 类放大器,可提供具有低功率耗散和丰富声音的低成本数字输入解决方案.该器件的集成音频处理器和 96kHz 架构支持高级音频处理流程(包括 SRC\每通道 15 个 BQ\音量控制\音频混合\3 频带 4 阶 DRC\全频带 AGL\THD 管理器和电平计).
TAS5805MPWPR采用 TI 的专有混合调制方案,消耗超低的静态电流(13.5V PVDD 下为 16.5mA),从而能够延长便携式音频应用中的电池寿命.凭借先进的 EMI 抑制技术,设计人员可以利用廉价的铁氧体磁珠滤波器来减小布板空间并降低系统成本.

特性
支持多路输出配置
2.0 模式(8Ω,21V,THD+N=1%)下可提供 2 × 23W 的功率
单声道模式(4Ω,21V,THD+N=1%)下可提供 45W 的功率
优异的音频性能
1W\1kHz\PVDD = 12V 条件下 THD+N ≤ 0.03%
SNR ≥ 107dB(A 加权),噪声级别 < 40µVRMS
低静态电流(混合调制)
PVDD = 13.5V 且使用 22µH + 0.68µF 滤波器的情况下为 16.5mA
灵活的电源配置
PVDD:4.5V 至 26.4V
DVDD 和 I/O:1.8V 或 3.3V
灵活的音频 I/O
I2S\LJ\RJ\TDM\3 线数字音频接口(无需 MCLK)
支持 32\44.1\48\88.2\96kHz 采样速率
可支持音频监控\子通道或回声消除的 SDOUT
增强的音频处理能力
多频带高级 DRC 和 AGL
2×15 个 BQ
热折返\直流阻断
输入混合器\输出交叉开关
电平计
5 个 BQ + 单频带 DRC + THD 管理器(用于低音炮通道)
声场定位器 (SFS) 选项
集成式自保护
邻近的引脚对引脚短路不会造成损坏
过流错误 (OCE)
过热警告 (OTW)
过热错误 (OTE)
欠压/过压锁定 (UVLO/OVLO)
可轻松进行系统集成
I2C 软件控制
解决方案尺寸更小
与开环器件相比,所需的无源器件更少
对于 PVDD ≤ 14V 的大多数情况,可实现无电感器操作(铁氧体磁珠)