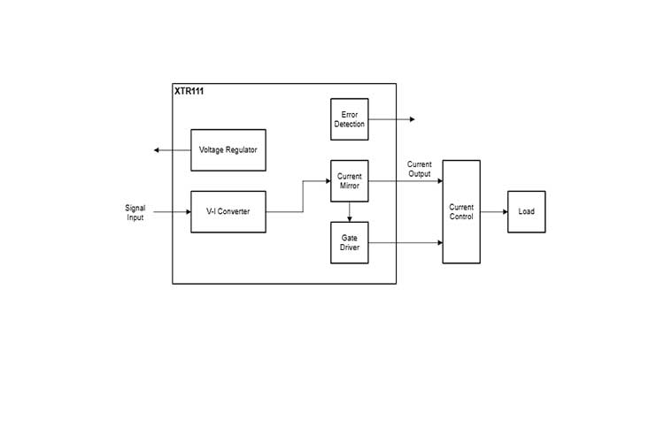
XTR111AIDGQR是一款精密电压至电流转换器,专为标准 0mA 至 20mA 或 4mA 至 20mA 模拟信号而设计,并可提供高达 32mA 的拉电流.输入电压和输出电流之比由单个电阻器 RSET 设定.该电路还可以进行修改以实现电压输出操作.
外部 P-MOSFET 晶体管可以提供高输出电阻和宽顺从电压范围,范围从低于电源电压 VVSP 2V 到远低于接地电压.
3V 至 15V 可调子稳压器输出为附加电路提供电源电压.
XTR111AIDGQR采用 10 引脚 HVSSOP 和 VSON 表面贴装封装.

特性
易于设计的输入/输出范围:0mA–20mA\4mA–20mA\5mA–25mA 或可配置电压输出
非线性度:0.002%
低温漂:1µV/°C
精度:0.015%
单电源供电
宽电源电压范围:7V 至 44V
输出错误标志 (EF)
输出禁用 (OD)
可调节稳压器:3V 至 15V
封装:
10 引脚 HVSSOP
10 引脚 VSON