新闻资讯

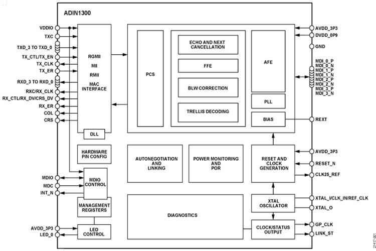
ADIN1300BCPZ
ADIN1300BCPZ2026-01-07 ADIN1300BCPZ
ADXL343BCCZ-RL7
ADXL343BCCZ-RL72026-01-07 ADXL343BCCZ-RL7
AD8421ARMZ-R7
AD8421ARMZ-R72026-01-07 AD8421ARMZ-R7
AD8544ARZ
AD8544ARZ2025-12-30 AD8544ARZ
REF193GSZ-REEL
REF193GSZ-REEL2025-12-30 REF193GSZ-REEL
REF193GSZ-REEL
REF193GSZ-REEL2025-12-30 REF193GSZ-REEL
REF193GSZ
REF193GSZ2025-12-30 REF193GSZ
AD9361BBCZ
AD9361BBCZ2025-12-30 AD9361BBCZ
AD7606BSTZ
AD7606BSTZ2025-12-30 AD7606BSTZ
AD7616BSTZ
AD7616BSTZ2025-12-30 AD7616BSTZ
AD2428WCCSZ-RL
AD2428WCCSZ-RL2025-12-30 AD2428WCCSZ-RL
MAX9295AGTJ/V+T
MAX9295AGTJ/V+T2025-12-30 MAX9295AGTJ/V+T